Anche Apple è pronta a produrre il suo primo smartphone pieghevole? Depositato il brevetto
Le prime immagini di quello che potrebbe essere il primo iPhone pieghevole, sulla scia di Samsung e Huawei
APPLE SMARTPHONE PIEGHEVOLE – Appassionati di tecnologia e maniaci di Apple, tendete bene le orecchie. Perché la notizia è di quelle bomba: dopo Samsung, con il suo Galaxy Fold, e Huawei con il Mate-X, anche l’azienda di Cupertino sembra essere pronta a lanciare sul mercato il suo primo smartphone con lo schermo pieghevole.
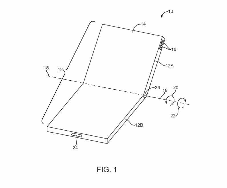
Le indiscrezioni arrivano da un brevetto, depositato il 14 febbraio 2019 da Apple, non si sa se già approvato. Nel documento spicca il disegno di quello che potrebbe essere il primo iPhone pieghevole. Ancora pochi i dettagli, ma si vedono già le cerniere – sui lati dello schermo – che permetteranno al display di piegarsi su se stesso.
Dalle prime immagini – precisiamo: non indicative di come sarà il prodotto finito – sembra anche che, a differenza del Galaxy Fold, questo prototipo di iPhone si potrebbe piegare lungo l’asse orizzontale, e non lungo quello verticale.
Se venisse confermata, la scelta di Apple avrebbe due grandi obiettivi: cavalcare la nuova moda degli smartphone pieghevoli, ma soprattutto dare una risposta al brusco calo delle vendite nell’ultimo anno con un prodotto totalmente inedito.
Apple smartphone pieghevole | Un ritorno al passato
Stando alle immagini del brevetto, sembra quasi che Apple stia pensando di tornare a dieci anni fa, quando i cellulari di seconda generazione – dopo la prima ondata dominata dai Nokia – si distinguevano per la possibilità di chiudersi “a conchiglia”.
E proprio in questa direzione deve essere interpretata l’intenzione di Apple di piegare il proprio device lungo l’asse orizzontale: un tentativo di prendere le distanze con gli smartphone degli ultimi anni, ma allo stesso tempo lasciarsi aperta la possibilità di allargare questa tecnologia a tutti gli altri dispositivi (tablet, indossabili e portatili), differenziandosi quindi dalla concorrenza.
LEGGI ANCHE: Obsolescenza programmata: che cos’è e come funziona
Dalle prime indiscrezioni, sembra infatti anche che il nuovo iPhone non inseguirà i competitor sulle dimensioni, ma si affermerà come uno smartphone tascabile e dunque non troppo ingombrante. Proprio come i cellulari di dieci anni fa.
Se Samsung, con Fold, ha voluto inventare lo smartphone che si apre per diventare un tablet, Apple vuole invece un device essenziale che si apre per diventare uno smartphone a tutti gli effetti.
Apple smartphone pieghevole | Data di uscita
Al momento, visto che siamo ancora nella fase di presentazione del brevetto, è molto difficile ipotizzare una possibile data di uscita del nuovo iPhone pieghevole.
C’è da dire, tuttavia, che visto l’arrivo in commercio di Galaxy Fold e Mate-X, Apple non può permettersi di far passare troppo tempo per l’arrivo del suo nuovo smartphone. Per questo motivo, secondo gli esperti, si può pensare a una presentazione del nuovo iPhone pieghevole entro il 2020.
